What About Those Crankshafts?

By Lance Schall

lkschall@earthnet.net

WHAT IS THIS I HEAR ABOUT BROKEN CRANKSHAFTS?

There have been reports of broken crankshafts by about 1% of Miata owners. The problem is confined to 1990 and early 1991 cars. Difficulties are related to the crankshaft nose, keyway, cam drive sprocket, or pulley bolt (Figure 1). Failures are often precipitated by the removal of the pulley bolt and cam sprocket to facilitate front crankshaft seal replacement. In the past, we recommended renewing the front seal during timing belt service as preventative maintenance. Now, it would seem prudent to leave the pulley bolt undisturbed provided the seal is not leaking. Luckily, it is not necessary to remove the bolt and sprocket in the course of regular timing belt service in 1990 and early 1991 cars.

Short nose -
small bolt shoulder and 4 slots in pulley

Big nose -
larger bolt shoulder and 8 slots in pulley

 

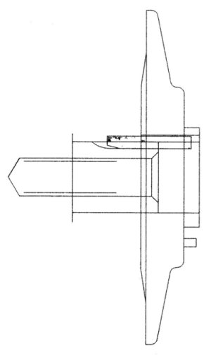
Figure 1 - This is a cutaway diagram of the original crankshaft and cam sprocket assembly. Note the incomplete engagement of the key in the short crankshaft slot. Engagement area of the key in the crankshaft slot is 0.045 in2.

SOUNDS FAIRLY CRITICAL

It is. This malfunction renders the car inoperative. Replacement of the crankshaft requires removal of the engine. The crankshaft costs about $450. Miscellaneous parts and labor must push the repair into the neighborhood of $1500.

THE CRANKSHAFT MUST BE REPLACED?

Your choices are to replace the crankshaft, substitute a nice used engine from a salvage yard, or install a new factory short block. Generally the least expensive alternative depends on each individual situation. Machine shop repair of the crankshaft is not unheard of. I suppose if you found a really expert shop...if you are unemployed...or living in a third world country.... Well, I don't want to hear about it.

WHY DOES IT BREAK?

Typically, the key wears the keyway slot in the crankshaft nose. Worn keyways are not repairable. In other cases, the pulley bolt will fail to stay tightly screwed to the front of the crankshaft. Insufficient tightening torque upon assembly is an obvious cause. Another less intuitive failure is excess torque can stretch the bolt which causes looseness. In some of the incidents, inserting the key into the keyway upside-down resulted in an interference fit (Figure 2). This improper assembly can stress the bolt, causing the head to break off. The misalignment also causes destructive imbalance. The imbalance can break the crankshaft. I should point out that some key and slot combinations are such that the key will fit in the slot either way without interference. It is also possible that v-belt tension and the forces necessary to drive the accessories may cause cyclical loading that leads to a fatigue failure of the crankshaft nose itself. We have closely examined perhaps a half dozen crankshafts. It is often not possible to determine what part of the assembly failed first.

Figure 2 - With the chamfered end of the square key incorrectly positioned, the key is forced out of sprocket slot and the bolt shank may be bent. This assembly will not survive long.

ARE THERE SYMPTOMS?

In some of these scenarios, difficulties may not be immediately detectable. Usually a worn keyway will result in a poor running engine as the crankshaft loses its position relative to the camshafts. It is difficult to diagnose because the relative positions of the timing mark on the pulley and crank position sensor on the back of the intake cam do not change. That is, the timing light reports ignition timing is OK. Some owners experienced poor performance as the slipping sprocket allowed relative crankshaft and camshaft timing to wander. If the crankshaft nose breaks off, this is easy for a mechanic to diagnose. The car will not run and the mechanic finds the pulley assembly laying on the lower splash shield. In all examples, repair is the same; replace the crankshaft.

I CAN HAVE A PROBLEM WITHOUT NOTICING?

Yes, it is possible to seem fine today and have a broken crankshaft tomorrow. It can happen at any time, regardless of mileage or whether you have had the 60,000 mile timing belt change. That said, it appears that failures are more likely after the pulley bolt has been carelessly replaced and usually within a few hundred miles. Although sudden and catastrophic failure is possible, many victims detect degraded engine performance or a noticeable pulley wobble.

IS THE DESIGN OF THE CRANKSHAFT POOR?

Certainly, it is fair to say that the design is not tolerant of assembly errors. Put the key in wrong or get bolt torque wrong, and it is all over. It is also clear that the original short nose crankshaft is not a particularly efficient use of available knowledge on the part of Mazda. I understand the Mazda 323 had the same problem. On the other hand, if the crankshaft was strong enough to never break, the car would not weigh 2200 lbs. Keep in mind that a vast majority of 1990 Miatas are running many miles past their timing belt change and to over 100,000 miles without any problem. The 1991 1/2 and later crankshaft is certainly better than the early part. It is easy to expand this concept to include the idea that the 1990 to 1991 1/2 crankshaft design is, indeed, poor. At this point, however, I can not extrapolate to convince myself that Mazda should recall all early Miatas and install new crankshafts.

It might be fair for an owner and Mazda to share a pro rated cost of an up-grade between zero and 100,000 miles. Of course, if we broke within 1000 miles of a dealer timing belt change, he should pick up the tab. However, what is fair and what the factory will do may be two different things. No car manufacturer, in my experience, has ever been able to see past the end of the warranty. Your, time, money, and sense of justice will have to be your guide on what you want to do. The Federal Government's regulatory attention is primarily safety and emissions issues.

MAZDA SUGGESTS THAT INCOMPETENT REPAIR IS THE ROOT CAUSE.

No, it is one cause.

Clumsy repair techniques or inadequate tools is always a recipe for disaster. The factory claims the mid-year change in 1991 was to "improve serviceability". This is partially true. The new crankshaft is more robust. But when cars assembled in Hiroshima or repaired by trained Mazda dealers have crankshaft failures, it is clear that blame should not be laid entirely at the feet of the nearest shade tree mechanic.

We have traced only two failures to the reversed key. In one of these cases, the key was reversed on the other side of the ocean. In the last 1990 car I worked on, the key would fit cleanly into the keyway backwards. In two other failures, we are certain the key was inserted correctly. In several incidences, the key position could not be determined.

CAN I CHECK MY MIATA TODAY?

Yes and no. If your Miata is a 1992 or newer, forget this article. You have nothing to worry about. If you have a 1991 with VIN 209447 or more, you're safe. If you'd like, verify the stronger crankshaft and larger bolt are fitted by measuring the bolt shoulder diameter to be 1.455 inches. If your Miata is a 1990 or 1991 with VIN 209446 or less, you have a crankshaft with a smaller diameter nose. (Note: according to Mazda, the European spec MX-5 breakpoint is at 127442.) The pulley bolt shoulder diameter is 1.128 inches. There is an intermediate fix in the form of a longer nosed crankshaft with the same small diameter (Figure 3). Unfortunately, we can not predict whether you have a long nose crankshaft or earlier short nose crankshaft. The High Road as been unable to verify whether the long nose crank was fitted to any cars at the factory or if it is only a service part. If you order a new 1990 crankshaft from the dealer, you will automatically get a long nose version. There is no reliable 5 minute technique to check the condition of your keyway. Verification of these parts requires partial disassembly and examination of the components.

Figure 3 - A quick fix was provided with a longer nose on the crankshaft. The key is supported along its entire length. Engagement area of the key is almost exactly doubled at 0.087 in2 . The longer nose also prevents the key from rotating out of its slot. If it is inserted upside-down, it may protrude beyond the face of the sprocket further. Hopefully, this makes an error more noticeable before the bolt is tightened.

SO I HAVE THE SMALL SHOULDER DIAMETER BOLT

Well, there you have it, the small bolt. You have two choices. You can ignore the situation completely. Just drive the car. It will probably never give you any trouble. Do you mind walking home too much? Your other option is to continue your investigation. Have your mechanic remove the pulley bolt. No other disassembly is required at this point, but he must not use an air wrench. Not even for loosening! Observe the exposed tip of the crankshaft. If it is nearly even with the face of the pulley, you have the long nose crankshaft. If the tip of the crankshaft is closer to 1/2 inch back in there, you have the dreaded short nose part. Withdraw the key with needle nose pliers. Make note of the chamfered corner, it should be on the back of the key and face toward the crankshaft. The key should not be bent, deformed, or mooshed.

Reassemble using a new key and new bolt. Clean all parts scrupulously including the threads in the crankshaft end. Put the whole thing back together. You should be able to push the key home with one finger. All the way in, the key end is below the surface of the pulley face. If you can not get it in, it is dirty, upside-down, the pulley and crank keyways are not lined up (they should not have moved), or the crankshaft keyway is damaged. Use Loctite on the bolt threads and torque to 80 to 87 foot pounds. This is not a minimum torque! It is not a torque suggestion, but rather a specification. Get the best torque wrench you can buy, borrow, or rent. Set it to 83.5 foot pounds. No, I am not joking! Pray your error is less than 4%. If your mechanic does not seem sufficiently concerned regarding the correct torque, leave. Go to a competent shop. Period.

WHAT ARE THE DEFINITE TROUBLE SIGNS?

To do a complete check, we want to go one step past the verification of the key and the replacement of the bolt that I just described. Speed shops sell over-the-counter dye penetrant inspection kits. This will give you a great idea of the condition of your crankshaft nose. To use this test you will need to remove the camshaft drive sprocket. This will take several hours. On the up-side, if the results are favorable, you have avoided an engine removal. If you are very risk adverse, the key is mangled, or the crankshaft keyway is damaged, you will want to replace the crankshaft. Of course, the other reason to replace the crankshaft is if its end is already broken off or the bolt head breaks off when the mechanic tries to loosen it.

I HAVE BEEN READING THE MIATA MAILING LIST ON THE INTERNET. THERE SEEMS TO BE SOME CONFUSION ABOUT THE PROPER PULLEY BOLT TORQUE. YOU JUST SAID 80 - 87 FOOT POUNDS. THE MIATA MAGAZINE HAD 120 FOOT POUNDS IN THE 1996 TECH ISSUE. WHAT GIVES?

I am confused as to why anyone should be confused. Of course, I have a shop manual for every year Miata (two for 1990). I also have four crankshafts on my desk. It's all perfectly clear to me. In 1990, the correct torque is 80 - 87 foot pounds. For 1992 and later, the larger crankshaft uses 116 - 123 foot pounds. In 1991, the manual lists both torques in different places. It does not explain why this is so. But now you know, VIN 209446 or less and your torque is 80 - 87. VIN 209447 or more is tightened to 116 - 123 foot pounds. The 120 foot pound bolt is considerably larger than the 85 foot pound bolt (Figure 4).

Figure 4 - Upper; Original bolt length is 2.1 inches and shank diameter is 0.428 inches. Rockwell hardness is 36 on a C scale. Lower; Larger bolt is 2.9 inches long for re-designed crankshaft. Diameter is increased to 0.507 inches. The diameter doesn't seem that much larger but it does represent a 40% larger cross section. The hardness of the large bolt is 22 Rc.

IF THE CRANKSHAFT DESIGN IS LAME, WHY REPLACE IT WITH A NEW LAME PART?

Remember you are probably replacing a short nose crankshaft with a long nose crankshaft. We have not been able to confirm any failures of a 1990 long nose crankshaft. It appears that the quick fix, slightly improved, crankshaft has eliminated unexpected field failures. [ If you discover a broken long nose crankshaft, I want to see it! For non-members, I will pay postage from anywhere in the country. ed. ]

IS THERE A REALLY EXCELLENT FIX?

We are fairly sure the long nose crankshaft is reliable. However, if you have more money than you know what to do with, your Miata can help you. Yes, the 1991 1/2 to 1993 crankshaft can be retrofitted to an early Miata. The crankshaft, pulley bolt, cam sprocket, front seal, pulley, spacer, and oil pump must be replaced as a set. I am not sure about the front cover. At least we know the engine block was not changed for the entire life of the Miata 1.6 liter. Realize that the dealer's references will not completely document this conversion. It is easy enough to do, but you have to play detective with the parts book. Understandably, Mazda did not provide the dealers with details for putting a 1992 crankshaft in a 1990 car. If any Peak To Peak Miata Club members want to do this conversion, your newsletter editor would welcome the opportunity to be a technical consultant. That is, if necessary, you can watch me while I do the work! By the way, an entire engine from a 1992 or 1993 will directly bolt into a 1990 Miata. This is a nice way to get the stronger crankshaft (Figure 5). Keep this in mind if you go with the engine replacement plan.

Figure 5 - Re-designed crankshaft with increased nose diameters. Shown next to original design for comparison. Note the addition of a "pulley boss".

ARE THERE PRECAUTIONS I CAN TAKE WITH MY MIGHT BE BAD CRANKSHAFT?

If you want to use the hope-for-the-best-if-I-don't-want-to-touch-it method of car maintenance, here are some simple guidelines:

Be very particular about belt tension for the accessory belts and the timing belt. Judging belt tension by the poke-with-finger method is a little questionable. Consider buying a belt tension checker.

If you are due for a timing belt change and the front seal is not leaking, change the timing belt but don't touch the pulley bolt. The timing belt can be replaced with out removing the cam drive sprocket from the crankshaft nose.

It is easy to use the bolt to turn the engine in order to install the new timing belt. Don't do this. Instead, put the car in 5th gear and roll it to position the crankshaft. Do not put a wrench on the bolt unless you intend to remove it!

If you really feel like you want to do something that might be constructive, replace the bolt with a new one.


ADDENDUM - August 2001

FORWORD

As the author of the article that appeared first in the Peak To Peak Miata Club newsletter, The High Road, and then in the Miata Magazine in 1996, it falls to me to provide this update.

Eventually all 1990 and early 1991 crankshafts will fail. Most crankshafts will last the life of the original block. The idea that they all fail might have become a non-issue. But now, those crankshafts are 11 or 12 years old. Second or third owners may be thinking of re-building the engine and returning the short nose crankshaft to service. This issue will be with us for a long time.

A SUMMARY OF THREE DIFFERENT CRANKSHAFTS

There are 3 crankshafts for 1.6 liter engines. Some people mention "short" and "long" when they really mean "short" and "big". Watch for this when you search archives. The crankshafts are the short nose, long nose, and big nose (Figures 1, 3, and 5 respectively). The short nose is fitted on early cars, the long nose is available primarily as a service part for those cars before the VIN cut in 1991. The long nose crankshaft is directly compatible with a short nose engine with no additional parts swapping required. The short nose and long nose use the same pulley bolt and torque. After the VIN cut, the big nose crankshaft is fitted with a bigger bolt. The nose of this crankshaft is larger diameter so a different engine front cover/oil pump is needed. The new oil pump has a bigger hole through the georotor to fit over the larger crankshaft. The big nose bolt has a larger threaded diameter, large shoulder diameter, and higher tightening torque. All of the bolts have 21mm heads.

Also the short nose crankshaft uses the lower timing belt cog as a structural member, that is the cog is bolted to the crankshaft, the accessory pulleys (one v-belt and one serpentine) are bolted to the cog. The timing belt cog, in addition to its timing belt rotational duties, must support the rotational and bending forces of the accessory belts. After the introduction of the big nose crankshaft, the timing belt cog has only one job, to rotate the timing belt. Mazda introduced an additional part they call a "pulley boss" (Figure 5). The pulley boss is a sturdy cast hub that forms a mounting flange on the front of the crankshaft. It is bolted to the crankshaft. The timing belt cog is bolted to the back of the boss and the accessory pulleys are bolted to the front of the boss.

In 1994, the 1.8 liter engine, has two serpentine accessory belts instead of the one v-belt and one serpentine.

THE PROTRUDING KEY IS NOT THE SMOKING GUN

I suggest that improper assembly, reversing the key, is one failure mode. Although there is a figure in this article (Figure 2) showing a reversed key, the text points out that there are several other ways to cause the chain of events leading to failure. It is my fault for writing the article in a way that inappropriately emphasizes the reversed key issue. I have always believed this failure mode to be relatively rare.

There are, as has been pointed out in my article and by others, examples of keys that fit in backwards and crankshaft bolts that break without being disturbed. Dealers may be delighted to grasp the straw of clumsy amateur repair as a root cause. However, in my opinion, the dealers are more effected and annoyed at Mazda's attempt to foist this problem off on them. In other words, it is clumsy dealer technicians that cause the problem! What we see is the result of the lack of any honest and intelligent communication whatsoever between Mazda and their dealer network. The problem is a Mazda DESIGN issue.

REGULAR REPLACEMENT OF THE BOLT RECOMMENDED

The failure starts at the BOLT. It is undertorqued, overtorqued (stretching and yielding it), or the bolt creeps (stretches or fatigues) over time loosening the connection. An overtorqued bolt can not only stretch but cause the crankshaft threaded end inside diameter to expand. So even a fresh bolt may not retain it's torque. In any case as the bolt loosens the key, keyway, and timing cog take a beating. Only the crankshaft shoulder and timing cog can take the loads of operation. When the bolt becomes loose, the load shifts from the crankshaft shoulder to the other parts which rapidly self destruct.

Yes, most of the fault lies with the weak design that asks too much of that bolt. For this reason, the solution is NOT to leave the bolt untouched. That bolt is becoming older and older everyday. Every time you start the engine, the risk for failure increases. The bolt should be on a regular replacement schedule. I would recommend annually.

The bolt can be removed and inspected, the key can be slid out (sometimes) and examined without any other disassembly of the engine. I have a special socket I shortened with a grinder so I can remove the pulley bolt without removing the front anti-roll bar. If you ever find the bolt has not retained its torque, ferrous powder on the bolt or key, or the key rusted or smooshed, these are signs that the system is starting to fail. Sometimes a wobble can be seen when the engine is running. A wasted crankshaft keyway may, however, still rotate without runout. The static tension in the timing belt and accessory belts usually prevents a human hand from wobbling the lower pulley with the engine off. The only way to get a read on the crankshaft condition is to take the system apart.

If everything is in order, clean up the crankshaft and bolt shoulder seating surface with brake cleaning spray. Toothbrush the inside of the crankshaft threaded hole. Apply Loctite thread locker or sleeve retainer to a new bolt. Install NEW bolt and key. Torque to 87 foot pounds.

THERE IS A LOCTITE REPAIR

Recognizing that many people can't afford to replace their engine or crankshaft, I will mention that there are successful repairs involving shims, new keys, welding and the like. Probably the best repair is a Loctite fix that has been developed with the direct assistance of Loctite engineers. 


Back to the Miata.net Garage

23 August, 2001